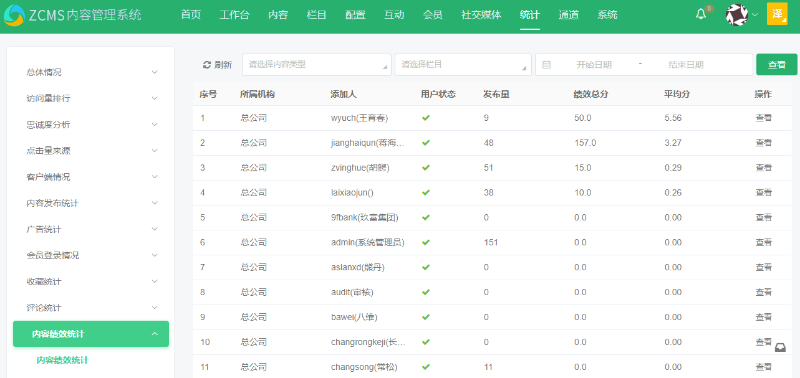
统计用户录入的内容被发布的情况以及绩效情况,包括添加人、发布量、绩效总分、平均分等数据,点击记录后面的“查看”按钮,打开的对话框中会显示该添加人所录入的内容被发布后得到绩效的情况,包括所在栏目、所在分数段、已打分记录数等数据。